注册商标被驳回,复审的期限只有15天时间,过了也就相当于放弃了这项权利。加上注册商标的时间周期比较长,导致很多企业在不懂的前提下,非常迷茫。久而久之,也就不想去弄了。商标为什么被驳回呢?很大一方面原因就是存在近似商标或不允许注册,近似商标是最大的拦路虎。很多时候我们判定的不近似,商标局判定为近似,我们判定为近似的,他们又判定为不近似,很难把控。
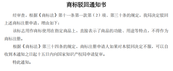
最近注册了一个商标,很遗憾被驳回了,名字就不透露了,但是商标局给出的驳回理由是:该标志用作商标使用在指定商品上,直接表示了商品的功能、用途等特点,不得作为商标注册。

注册商标被驳回,复审的期限只有15天时间,过了也就相当于放弃了这项权利。加上注册商标的时间周期比较长,导致很多企业在不懂的前提下,非常迷茫。久而久之,也就不想去弄了。
商标为什么被驳回呢?很大一方面原因就是存在近似商标或不允许注册,近似商标是最大的拦路虎。很多时候我们判定的不近似,商标局判定为近似,我们判定为近似的,他们又判定为不近似,很难把控。

商标申请被驳回了,驳回复审有用吗?
首先,我注册了这个名字,但是被驳回,商标局已经是多给了一次注册下来的机会,毕竟驳回通知书也说了,对驳回通知不服的可以进行重新提交复审,也是给我们注册商标人的一个提供注册理由的机会。比如和烈士同名的个人姓名注册肯定会被驳回,但是这个机会可以提供身份证、户口本等材料进行复审,这样商标很大概率会下来的,或者说自己同时申请了很多个商标但是自己申请人信息变更了的,没有及时提出变更申请,那这个驳回复审就会给咱们提出这个条件,重新提交并且办理相关手续之后就可以通过了。
日本丰田集团旗下全球著名豪华汽车品牌雷克萨斯于1983年就已经创立了,在中国2005年创立了首批经营店从而进入中国市场,经过多年销售和服务,大众也逐渐认可了雷克萨斯,其技术过硬,售后服务周到,产品本身稳定舒适,获得消费者一致好评,但是不为人知的是在中国申请雷克萨斯商标却是一波三折!


雷克萨斯图形商标注册申请日期2011年提交,但是历经十年至2021才过初审公告,其中间便是在进行驳回复审,对于丰田集团而言,倾注在雷克萨斯品牌的心血决计是不少的,经过多年销售、广告,终于是将自己的品牌成功做大做强,若是此时没有进行商标驳回复审的机会,那多年努力亦会付之东流,所幸通过抓住驳回复审的机会今年二月份也是成功下证!

商标被驳回了确实也有驳回复审的理由和必要的,但是驳回复审也是有一定条件的:
(一)驳回商标复审申请人必须是被商标局驳回商标的原申请人,其他人不具有申请资格。
(二)驳回商标复审申请,必须在法定时限内提出。
(三)驳回商标复审申请的内容,必须是被驳回的商标注册申请书中的确切内容,复审理由必须针对商标局驳回理由。否则,该复审申请则被视为无效。
(四)申请驳回商标复审,必须将《商标驳回通知书》原件和《驳回商标复审申请书》二份寄送商标评审委员会。
(五)交纳商标评审费。
符合上述要件的,商标评审委员会受理该申请。手续不齐备的,退回申请书件限期补办。商标评审委员会经分析研究,集体讨论,以委员的多数意见,作终局决定。多数委员认为复审申请理由成立的,终局决定否定商标局的核驳意见,准予初步审定,刊登《初步审定商标公告》;复审申请理由不能成立的,终局决定维持商标局的核驳意见,不予初步审定,再予驳回。商标评审委员会的终局决定一经作出,即产生法律效力,申请人和商标局都必须执行。
商标驳回复审的成功率高吗?
这个问题不能给予肯定答案的,要看具体情况。
驳回复审成功率由许多因素决定,比如选择的代理机构是否正规;代理人员的专业素质是否过硬;证据材料的收集是否全面,关联性是否强;审查员的主观因素等等,因此驳回复审没有百分百的成功,具体还是根据自身实际情况来判断!当然了,如果实在是商标已经着急使用,然后被驳回商标也没有大量投入付出,那直接购买一个商标也很不错!
商标被驳回是常有的事,做生意不用因为一个商标驳回而倍感可惜,而是在有可能的情况下,积极进行驳回复审,尽可能地争取到商标专有权。